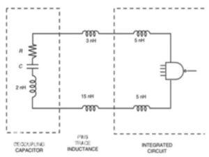
inductance in decupling capacitor